کد QR
محصولات
با ما تماس بگیرید


فکس
+86-574-87168065

پست الکترونیک

نشانی
منطقه صنعتی لوتوئو، منطقه ژنهای، شهر نینگبو، چین
کوپلینگ جهانی استاندارد SWC-BH جوشکاری انعطاف پذیر استاندارد Raydafon به طور خاص برای انتقال گشتاور سنگین در سناریوهای سخت ماشین آلات سنگین طراحی شده است - کارخانه های نورد، جرثقیل ها و تجهیزات معدنی که تحت تنش زیاد ثابت کار می کنند.
به عنوان یکی از ویژگیهای کلیدی طراحی، یک یوغ جوش داده شده ارائه میشود و قطر چرخش آن محدوده عملی را در بر میگیرد: از 180 میلیمتر تا 620 میلیمتر. چیزی که آن را برای کارهای سخت متمایز می کند، توانایی آن در کنترل ناهماهنگی های زاویه ای تا 15 درجه است، به علاوه می تواند بارهای گشتاوری تا 1250 کیلو نیوتن متر را تحمل کند - که هر دو برای ثابت نگه داشتن عملیات حتی در شرایط کاری سخت حیاتی هستند.
کیفیت ساخت بر دوام متمرکز است: کوپلینگ از فولاد با استحکام بالا 35CrMo برای چقرمگی طولانی مدت استفاده میکند، همراه با بلبرینگهای سوزنی دقیق برای اطمینان از عملکرد صاف و قابل اعتماد در طول زمان. این باعث می شود که برای دو نیاز کلیدی انتخابی مناسب باشد: کوپلینگ های جهانی مناسب برای ماشین آلات سنگین و کوپلینگ های جهانی جوش داده شده مناسب برای کاربردهای صنعتی.
Raydafon این کوپلینگ را در چین تولید می کند و تمام تولیدات از استانداردهای ISO 9001 پیروی می کند تا کیفیت ثابت را تضمین کند. علاوه بر این، گزینههای سفارشی متناسب با نیازهای خاص را ارائه میدهد - همه با قیمتهایی که برای مشاغلی که به دنبال قابلیت اطمینان و ارزش هستند رقابتی باقی میماند.
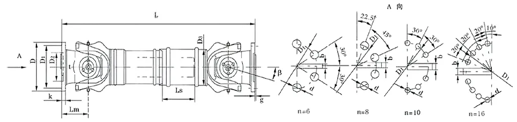
| خیر | قطر چرخش D میلی متر | گشتاور اسمی Tn KN·m | زاویه تا شدن محورها β (°) | گشتاور خسته Tf KN·m | مقدار فلکس Ls میلی متر | اندازه (میلی متر) | اینرسی چرخشی کیلوگرم بر متر2 | وزن (کیلوگرم) | |||||||||||
| Lmin | D1 (js11) | D2 (H7) | D3 | Lm | n-d | k | t | ب (h9) | g | Lmin | افزایش دهید 100 میلی متر | Lmin | افزایش دهید 100 میلی متر | ||||||
| SWC58BH | 58 | 0.15 | 0.075 | ≤22 | 35 | 325 | 47 | 30 | 38 | 35 | 4-5 | 3.5 | 1.5 | - | - | - | - | 2.2 | - |
| SWC65BH | 65 | 0.25 | 0.125 | ≤22 | 40 | 360 | 52 | 35 | 42 | 46 | 4-6 | 4.5 | 1.7 | - | - | - | - | 3 | - |
| SWC75BH | 75 | 0.5 | 0.25 | ≤22 | 40 | 395 | 62 | 42 | 50 | 58 | 6-6 | 5.5 | 2 | - | - | - | - | 5 | - |
| SWC90BH | 90 | 1 | 0.5 | ≤22 | 45 | 435 | 74.5 | 47 | 54 | 58 | 4-8 | 6 | 2.5 | - | - | - | - | 6.6 | - |
| SWC100BH | 100 | 1.5 | 0.75 | ≤25 | 55 | 390 | 84 | 57 | 60 | 58 | 6-9 | 7 | 2.5 | - | - | 0.0044 | 0.00019 | 6.1 | 0.35 |
| SWC120BH | 120 | 2.5 | 1.25 | ≤25 | 80 | 485 | 102 | 75 | 70 | 68 | 8-11 | 8 | 2.5 | - | - | 0.0109 | 0.00044 | 10.8 | 0.55 |
| SWC150BH | 150 | 5 | 2.5 | ≤25 | 80 | 590 | 13 | 90 | 89 | 80 | 8-13 | 10 | 3 | - | - | 0.0423 | 0.00157 | 24.5 | 0.85 |
| SWC160BH | 160 | 10 | 5 | ≤25 | 80 | 660 | 137 | 100 | 95 | 110 | 8-17 | 15 | 3 | 20 | 12 | 0.145 | 0.006 | 68 | 1.72 |
| SWC180BH | 180 | 20 | 10 | ≤25 | 100 | 810 | 155 | 105 | 114 | 130 | 8-17 | 17 | 5 | 24 | 14 | 0.175 | 0.007 | 70 | 2.8 |
| SWC200BH | 200 | 32 | 16 | ≤15 | 110 | 860 | 170 | 120 | 127 | 135 | 8-17 | 19 | 5 | 28 | 16 | 0.31 | 0.013 | 86 | 3.6 |
| SWC225BH | 225 | 40 | 20 | ≤15 | 140 | 920 | 196 | 135 | 152 | 120 | 8-17 | 20 | 5 | 32 | 9 | 0.538 | 0.0234 | 122 | 4.9 |
| SWC250BH | 250 | 63 | 31.5 | ≤15 | 140 | 1035 | 218 | 150 | 168 | 140 | 8-19 | 25 | 6 | 40 | 12.5 | 0.966 | 0.0277 | 172 | 5.3 |
| SWC285BH | 285 | 90 | 45 | ≤15 | 140 | 1190 | 245 | 170 | 194 | 160 | 8-21 | 27 | 7 | 40 | 15 | 2.011 | 0.051 | 263 | 6.3 |
| SWC315BH | 315 | 125 | 63 | ≤15 | 140 | 1315 | 280 | 185 | 219 | 180 | 10-23 | 32 | 8 | 40 | 15 | 3.605 | 0.0795 | 382 | 8 |
| SWC350BH | 350 | 180 | 90 | ≤15 | 150 | 1410 | 310 | 210 | 267 | 194 | 10-23 | 35 | 8 | 50 | 16 | 7.053 | 0.2219 | 582 | 15 |
| SWC390BH | 390 | 250 | 125 | ≤15 | 170 | 1590 | 345 | 235 | 267 | 215 | 10-25 | 40 | 8 | 70 | 18 | 12.164 | 0.2219 | 738 | 15 |
| SWC440BH | 440 | 355 | 180 | ≤15 | 190 | 1875 | 390 | 255 | 325 | 260 | 16-28 | 42 | 10 | 80 | 20 | 21.42 | 0.4744 | 1190 | 21.7 |
| SWC490BH | 490 | 500 | 250 | ≤15 | 190 | 1985 | 435 | 275 | 325 | 270 | 16-31 | 47 | 12 | 90 | 22.5 | 32.86 | 0.4744 | 1452 | 21.7 |
| SWC550BH | 550 | 710 | 355 | ≤15 | 240 | 2300 | 492 | 320 | 426 | 305 | 16-31 | 50 | 12 | 100 | 22.5 | 68.92 | 1.357 | 2380 | 34 |
هنگامی که ما در مورد دنده های صنعتی سنگین صحبت می کنیم که جریان برق را به طور قابل اعتماد حفظ می کند، کوپلینگ مفصلی جهانی SWC (که اغلب به آن کوپلینگ مفصل جهانی شفت SWC می گویند) یک بخش غیرقابل مذاکره است. کار در دستگاههایی مانند کارخانههای نورد، ماشینهای بالابر و انواع سیستمهای ماشینآلات سنگین سخت است - مکانهایی که قطع کردن گوشهها در انتقال نیرو فقط یک گزینه نیست.
کار اصلیش؟ دو شفت گیربکس را که کاملاً در یک راستا قرار ندارند (محورهای غیر تصادفی) وصل کنید و مطمئن شوید که برق بدون مشکل حرکت میکند، حتی زمانی که شرایط کار سخت میشود. بدون لکنت، بدون شکستگی - فقط انتقال ثابت زمانی که مهم است.
بیایید مشخصات کلیدی آن را که این عملکرد را ممکن میسازد، بررسی کنیم:
قطر چرخش: محدوده از φ58 تا φ620 است که گستره وسیعی از نیازهای صنعتی را پوشش میدهد. گشتاور اسمی: از 0.15 کیلو نیوتنمتر تا 1000 کیلو نیوتنمتر را کنترل میکند - عضلهای برای حتی گشتاور بالا. زاویه تا شدن محور: میتواند زوایایی تا 25 درجه داشته باشد، عملکردی بینقص برای شعلهها بدون نقص.
کجا بیشتر به چشم می آید؟ به عملیات آسیاب نورد فکر کنید - جایی که به عنوان یک کوپلینگ مفصل جهانی قابل اعتماد سنگین عمل می کند که تحت فشار شدید آسیاب مقاومت می کند. یا در تجهیزات بالابر و جابجایی مواد، که در آن به عنوان یک کوپلینگ شفت مشترک جهانی SWC با دوام، شرایط را حتی زمانی که بارها شدید می شوند ثابت نگه می دارد. این فقط کار نمی کند - وقتی کار سخت می شود، عملیات را ثابت نگه می دارد.
کوپلینگ یونیورسال SWC فقط به هم متصل نیست، بلکه از ابتدا مهندسی شده است تا در تنظیمات صنعتی مقاوم باشد، با ویژگی هایی که هم عملکرد و هم طول عمر را افزایش می دهد. بیایید نگاهی دقیق بیندازیم که چه چیزی باعث می شود ساختار آن به خوبی کار کند.
طراحی هوشمند و ایمن
در هسته آن یک طراحی سر چنگال یکپارچه وجود دارد - هیچ قطعه جداگانه ای در اینجا توسط پیچ و مهره به هم چسبیده نیست. این مهم است زیرا خطر شل شدن یا شکستن پیچ و مهره ها را کاهش می دهد، که سردرد رایج در سایر تنظیمات است. در واقع، این طرح استحکام سازه را 30 تا 50 درصد در مقایسه با سبک های قدیمی تر افزایش می دهد. برای هر کسی که به کوپلینگ مفصلی جهانی ماشین آلات سنگین تکیه میکند، این به معنای خرابی کمتر در هنگام شدت گرفتن اوضاع است. این نوعی کوپلینگ مشترک جهانی قوی است که حتی در محیطهای پر استرس که ممکن است سایر قسمتها از کار بیفتند، به نرمی کار میکند.
برای حمل بار ساخته شده است
این رابط متوسط شما نیست. کوپلینگ مشترک جهانی سنگین SWC برای تحمل وزن های جدی ساخته شده است - به تجهیزات معدن، ماشین آلات ساختمانی و سایر ضربه های سنگین فکر کنید. هنگامی که به یک کوپلینگ مشترک جهانی ناهموار نیاز دارید که تحت فشار عقب ننشیند، این کوپلینگ است که به شما کمک می کند. این فقط در مورد اندازه نیست؛ این در مورد مواد و مهندسی است که با هم کار می کنند تا وزن را بدون فرسودگی سریع تحمل کنند.
قدرت را به طور موثر حرکت می دهد
آیا تا به حال فکر کرده اید که تمام انرژی در تاسیسات صنعتی بزرگ کجا می رود؟ اینجا چیز زیادی هدر نمی رود. این کوپلینگ مفصلی با گشتاور بالا تا 98.6 درصد به سطوح بازدهی می رسد که به معنای از دست رفتن انرژی کمتر به عنوان گرما یا اصطکاک است. برای عملیات هایی که به دنبال کاهش هزینه ها هستند، این یک پیروزی بزرگ است. این نوعی کوپلینگ مشترک جهانی کارآمد است که در سیستم های انتقال قدرت بزرگ تفاوت ایجاد می کند و به عنوان یک کوپلینگ مشترک جهانی قابل اعتماد عمل می کند که صورت حساب های انرژی را کنترل می کند.
ساکت و ثابت
ماشین آلات با صدای بلند می تواند یک مشکل واقعی باشد، به خصوص در فضاهایی که نویز اهمیت دارد. کوپلینگ مشترک مشترک SWC همه چیز را آرام نگه می دارد، با سطوح نویز معمولاً بین 30-40 دسی بل (A) - آرام تر از یک مکالمه معمولی. این باعث میشود که یک کوپلینگ مشترک جهانی کمصدا برای محیطهایی که در آنها پایین نگه داشتن صدا کلیدی است، بدون از بین بردن قابلیت اطمینان مورد نیاز شما، عالی باشد. خواه در کف کارخانه باشد یا در یک کارگاه دقیق، این کوپلینگ مفصلی روان و روان کار را بدون راکت انجام می دهد.
کوپلینگ جهانی جوش استاندارد SWC-BH فقط یک قطعه دیگر نیست - این یک اسب بخار است که برای حرکت موثر نیرو ساخته شده است، حتی زمانی که ماشین ها تحت فشار شدید هستند. بیایید جایی که واقعاً می درخشد را تجزیه کنیم.
به عنوان مثال ماشین آلات سنگین و تجهیزات ساختمانی را در نظر بگیرید. هنگامی که با بارهای شدید و ارتعاشات مداوم سر و کار دارید - به بیل مکانیکی یا بولدوزر فکر کنید - این کوپلینگ عقب نشینی نمی کند. طراحی جوش داده شده آن چقرمگی بیشتری میافزاید، بنابراین از گزینههای ضعیفتری که ممکن است ترک بخورند یا در اثر این حرکت فرسوده شوند، دوام بیشتری دارد. این نوعی کوپلینگ جهانی با گشتاور بالا است که بدون توجه به سختی کار، قدرت را در جریان نگه می دارد.
در کارخانه ها، به ویژه در خطوط نقاله و سیستم های مونتاژ، دقت اهمیت دارد. این کوپلینگ جهانی درجه صنعتی، زاویهها را کنترل میکند و بدون رد شدن ضربان، سرعت را ثابت نگه میدارد و در تراز قرار میگیرد. این بدان معنی است که زمان کمتری برای تعمیر خرابی ها و زمان بیشتر برای حفظ تولید در مسیر درست است. مهندسان آن را دوست دارند زیرا با ناهماهنگی های محوری، شعاعی و زاویه ای سازگار می شود - جابجایی های کوچکی که می تواند سایر قسمت ها را از بین ببرد.
در خودرو و حملونقل، شفتهای محرک به چیزی قابل اعتماد نیاز دارند تا برق را به آرامی منتقل کنند. SWC-BH، چه در کامیون، قطار یا سایر وسایل نقلیه، کاملاً جا می شود. طراحی جوش منعطف آن باعث میشود که به راحتی در تنظیمات موجود قرار گیرد و سرعتهای بالا را بدون بریدن گوشههای ایمنی کنترل کند. این کوپلینگ جهانی محور محرک برای حرکت دادن وسایل است.
کار دریایی و دریایی روی تجهیزات سخت است - آب شور، آب و هوای سخت، بارهای غیرقابل پیش بینی. این جفت در اینجا نیز جای خود را دارد. به عنوان یک کوپلینگ جهانی دریایی مقاوم در برابر خوردگی، در برابر اسپری نمک و دریاهای مواج مقاومت می کند و موتور کشتی و ماشین های کمکی را به طور مداوم در حال کار می کند. بدون خرابی مربوط به زنگ زدگی، بدون خاموش شدن غیرمنتظره.
راه اندازی انرژی های تجدیدپذیر مانند توربین های بادی و ردیاب های خورشیدی به قطعاتی نیاز دارند که انرژی را هدر نمی دهند. SWC-BH به عنوان یک کوپلینگ جهانی انرژی های تجدیدپذیر پیشرفت می کند و قدرت را بدون هیچ عکس العملی منتقل می کند. استانداردهای کیفیت جهانی را برآورده می کند، بنابراین چه در یک مزرعه بادی در اروپا یا یک نیروگاه خورشیدی در آسیا باشد، تحویل می دهد.
در Raydafon، ما فقط این کوپلینگ ها را نمی فروشیم، بلکه آنها را خیاطی می کنیم. به اندازه، مواد یا ظرفیت گشتاور خاصی نیاز دارید؟ تیم ما SWC-BH را مطابق با نیازهای شما تغییر می دهد. تماس بگیرید، و ما به شما کمک خواهیم کرد تا از سیستم خود بیشترین بهره را ببرید.
هنگامی که به دنبال شخصی هستید که به قطعات مکانیکی اعتماد کند - به ویژه مواردی مانند کوپلینگ جهانی جوش استاندارد SWC-BH، Raydafon فقط گزینه دیگری نیست. ما تولید کننده ای هستیم که با کیفیت زندگی می کند و نفس می کشد و این در هر بخشی که می سازیم نشان می دهد.
اول از همه، کیفیت برای ما یک فکر بعدی نیست. ما از تکنیکهای مهندسی سطح بالا استفاده میکنیم و هر کوپلینگ مشترک جهانی را از طریق بررسیهای دقیق انجام میدهیم - خواه کوپلینگ با گشتاور بالا برای ماشینآلات سنگین باشد یا یک مدل صنعتی برای تنظیمات کارخانه. هر قطعه با استانداردهای ISO 9001 مطابقت دارد، و ما آنها را به سختی آزمایش می کنیم: بارهای شدید، شرایط ناهموار، هر آنچه که صنعت شما به آن وارد می کند. هدف؟ بدون خرابی غیرمنتظره، خطر کمتری برای عملیات شما، و اتصالی که سیستم شما را روان نگه می دارد.
سپس سفارشی سازی وجود دارد. بیایید واقعی باشیم - هیچ دو شغلی شبیه هم نیستند. شاید به یک کوپلینگ جهانی محور محرک با ابعاد خاص، یا یک کوپلینگ جهانی نیروی محرکه دریایی ساخته شده از مواد مقاوم در برابر خوردگی، یا حتی یک کوپلینگ جهانی انرژی تجدیدپذیر که برای گشتاور مناسب تنظیم شده باشد، نیاز داشته باشید. ما شما را مجبور نمیکنیم که یک بخش «یک اندازه برای همه» را جا دهید. آنچه را که نیاز دارید به ما بگویید، و ما آن را به گونهای تنظیم میکنیم که دقیقاً در تنظیمات موجود شما قرار گیرد - چه در سیستمهای خودرو، دریایی، یا خورشیدی/بادی.
و ما متوجه می شویم که هزینه نیز اهمیت دارد. شما نباید بین یک کوپلینگ خوب و قیمت منصفانه یکی را انتخاب کنید. ما زنجیره تامین خود را بهینه کردهایم و تولید خود را مقیاسبندی کردهایم تا بتوانیم قیمتهای رقابتی را حتی برای قطعات تخصصی - مانند کوپلینگ جهانی نیروی محرکه دریایی یا مدل صنعتی با گشتاور بالا - بدون کاهش کیفیت ارائه دهیم. منظور این است که ارزشی به شما بدهیم که ماندگار باشد، نه فقط یک قطعه ارزان که سریع خراب می شود.
تیم ما نیز با زدن "order" ناپدید نمی شود. از اولین تماس - زمانی که سعی می کنید بفهمید کدام کوپلینگ مشترک جهانی برای تجهیزات انرژی تجدیدپذیر یا خط کارخانه شما بهترین کار را دارد - تا پشتیبانی پس از فروش اگر سؤالی دارید، ما اینجا هستیم. ما سالها دانش صنعت داریم، بنابراین میتوانیم شما را به انتخاب درست راهنمایی کنیم، به شما کمک کنیم از خرابی جلوگیری کنید، و مطمئن شوید که کوپلینگ شما دقیقاً همان کاری را انجام میدهد که شما به آن نیاز دارید.
در Raydafon، ما فقط قطعات را نمی فروشیم، بلکه در حال ایجاد شراکت هستیم. ما می خواهیم با راه حل های مشترک جهانی که به سختی شما کار می کنند، تیمی باشیم که شما به آن اعتماد دارید تا عملیات خود را به جلو ادامه دهید. اگر نیازهای خاصی دارید، امروز با متخصصان ما تماس بگیرید—بیایید در مورد اینکه چگونه می توانیم کمک کنیم صحبت کنیم.
نشانی
منطقه صنعتی لوتوئو، منطقه ژنهای، شهر نینگبو، چین
تلفن
پست الکترونیک


+86-574-87168065


منطقه صنعتی لوتوئو، منطقه ژنهای، شهر نینگبو، چین
کپی رایت © Raydafon Technology Group Co., Limited کلیه حقوق محفوظ است.
Links | Sitemap | RSS | XML | سیاست حفظ حریم خصوصی |
